схемы
проэкты
документация
FreeCircuits.ru

Комбинированный блок питания
Автор internum
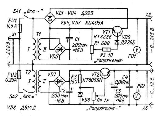
Это устройство представляет собой два независимых источника питания радиоаппаратуры: постоянного напряжения, регулируемого в пределах 0...12 В, и переменного, регулируемого в пределах 0... 215 В. Первый из них предназначен для питания приборов и устройств на транзисторах и интегральных микросхемах, второй - для плавного регулирования частоты вращения ротора сетевых электродвигателей, яркости свечения ламп накаливания, температуры жала электропаяльника или нагревательного элемента, понижения сетевого напряжения 220 В до 127 В (вместо ЛАТРа) и других подобных целей. Одновременно оба источника можно использовать для питания измерительных приборов и устройств на цифровых микросхемах с высоковольтными газоразрядными индикаторами.

Максимальный ток нагрузки каждого из источников - 0,5 А. Напряжение переменной составляющей (пульсации) источника постоянного тока не более 0,2 В. У каждого из них «свой» выключатель первичной цепи питания, защитный предохранитель и вольтметр, показывающий выходное напряжение. В источнике переменного напряжения в качестве регулирующего элемента применен мощный транзистор VT1, выполняющий роль своеобразного полупроводникового переменного резистора, включенного последовательно с нагрузкой. Такое техническое решение дает ряд преимуществ по сравнению с тиристорным регулятором или ЛАТРом, например: не создает помех, проникающих в электросеть, имеет небольшие габариты и массу. Транзисторный регулятор позволяет управлять устройствами как с активной нагрузкой, так и с реактивной. Он к тому же относительно прост и не содержит дефицитных деталей.
Из недостатков наиболее серьезен один - на регулирующем транзисторе выделяется большое количество тепла, что создает определенные трудности с его отведением. Диодный мост VD1- VD4 обеспечивает прямой ток через транзистор VT1 при обоих полупериодах сетевого напряжения. Пониженное трансформатором Т1 до 6 В сетевое напряжение снимается с его обмотки II. Выпрямляет его диодный блок VD5 и сглаживает конденсатор С1. Переменным резистором R1 регулируют базовый ток транзистора VT1. Резистор R2 токоограничительный. Диод VD6 предотвращает попадание на базу транзистора VT1 напряжения отрицательной полярности. Выходное напряжение контролируют по вольтметру PU 1. Ток нагрузки, работающей с таким источником переменного напряжения, зависит от значения управляющего напряжения на базе транзистора VT1. Изменяя это напряжение резистором R1, можно управлять током коллектора транзистора, а следовательно, и током через нагрузку. При крайнем нижнем по схеме положении движка резистора R1 транзистор VT1 оказывается полностью открытым и напряжение на нагрузке будет максимальным. В крайнем же верхнем положении движка этого резистора транзистор будет в закрытом состоянии и ток через нагрузку прекратится. Трансформатор Т2, питающий источник постоянного напряжения, понижает переменное напряжение сети до 12 В. Это напряжение выпрямляет диодный блок VD7, а пульсации напряжения сглаживают конденсаторы С2, СЗ. Стабилитрон VD8 и резистор R3 образуют параметрический стабилизатор напряжения, а транзистор VT2 усиливает выходную мощность этого источника. Напряжение, снимаемое с его выхода, регулируют переменным резистором R4. Конденсатор С4 служит для фильтрации высокочастотных помех при питании от блока устройств на цифровых микросхемах. Выходное напряжение контролируют по вольтметру PU2. Транзисторы устанавливают на теплоотводах с полезной площадью рассеяния для транзистора VT 1- не менее 300 см2, а для VT2 - 30 см2. На лицевой панели блока размещают все органы управления, вольтметры и разъемы, а держатели предохранителя - на задней или одной из боковых стенок. Все необходимые соединения выполняют отрезками тонкого монтажного провода в надежной изоляции. Кроме указанных на схеме, в блоке питания можно использовать транзисторы: VT1 - КТ812А, КТ812Б, КТ824А, КТ824Б, КТ828А, КТ834А -КТ834В, КТ840А, КТ840Б. КТ847А, КТ856А; VT2 -КТ805АМ. КТ807А, КТ807Б, КТ815А - КТ815Г, КТ817А - КТ817Г, КТ819А - КТ819Г. Диоды VD1-VD4 должны быть рассчитаны на напряжение не менее 250 В и ток не менее 1 А - например, К.Д202Ж- КД202С или из серий Д245, Д246, Д247, Д248 с любым буквенным индексом. Выпрямительные блоки VD5 и VD7 - КЦ405 с любым буквенным индексом; диод VD1 - Д237. Можно использовать любые трансформаторы мощностью 6...10Вт, понижающие напряжение сети до 8...10 В (Т1) и 12... 15 В (Т2), например, трансформаторы ТС-25 или ТС-27 от телевизоров «Юность».
Блок питания налаживания не требует. Если при монтаже не допущено ошибок и применены исправные детали, он начинает работать сразу после подключения к сети. Если регулирующий транзистор (VT1) выбрать из серии К.Т856, то мощность, потребляемая нагрузкой от сети, может достигать 150 Вт. с транзистором из серии КТ834 - 200 Вт, а КТ847 - 250 Вт. При необходимости еще больше увеличить выходную мощность источника, регулирующий элемент составляют из нескольких параллельно включенных транзисторов, соединив их одноименные выводы. Эти транзисторы подбирают с возможно близкими коэффициентами усиления и, кроме того, в их базовые цепи включают индивидуальные уравнивающие резисторы. Диоды VD1 - VD4 придется заменить на более мощные, рассчитанные на ток, не менее потребляемого нагрузкой. Диод VD6 также необходимо будет заменить на более мощный, способный пропускать ток до 1А, На больший ток должен быть рассчитан и предохранитель FU1. Но в этом случае, возможно, придется установить небольшой вентилятор для интенсивного отведения тепла от полупроводниковых приборов. Работая с этим блоком питания, не забывайте о мерах безопасности. Помните, что источник переменного тока гальванически связан с сетью! Полное описание блока питания и рисунок печатной платы приведены в [ 14].
Схема: Комбинированный блок питания
Версия для печати: ![]()
852
17 March 2007
