схемы
проэкты
документация
FreeCircuits.ru

Трехпрограммный приемник - приставка
Автор internum
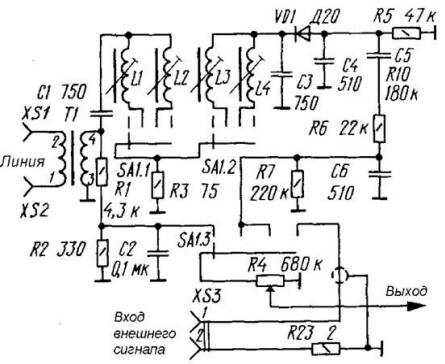
Эта приставка предназначена для приема программ проводного вещания, а так же в качестве простого абонентского громкоговорителя. Приставка не содержит каких - либо усилительных элементов , поэтому и не требует питания. В качестве усилителя можно использовать любой усилитель НЧ с входным сопротивлением не менее 1 Мом, и чувствительностью 40...60 мВ. Демодулятор приставки существенно отличается от применяемых в промышленных приемниках, принцип его действия основан на физическом свойстве последовательного резонансного контура увеличивать амплитуду входного напряжения пропорционально добротности. В данной приставке для формирования прямоугольной характеристики избирательности использована пара связанных через резистор R3 контуров. Функции детектора выполняет диод VD1. С помощью переключателя SA1 можно выбрать нужную программу. При приеме первой программы сигнал снимается с трансформатора Т1 и фильтра R1, R2,C2, выравнивающего громкость, подается на УНЧ. При приеме второй и третьей программ сигнал соответствующей программы поступает с фильтров демодулятора. В четвертом положении на УНЧ подается сигнал с внешнего источника. Входной транформатор Т1 изготовлен из трансформатора лампового приемника. Сердечник Ш9 х 12, первичная обмотка содержит 2000 витков првода ПЭЛ 0,12. Вторичную обмотку надо удалить и намотать вместо нее другую, из 260 витков провода ПЭЛ 0,25. Высокочастотные катушки намотаны на полистироловых каркасах с ферритовыми подстроечниками от транзисторных приемников. L1 и L3 содержат по 4X200 , L2 и L4 - 4x140 витков провода ПЭЛ 0,1. Подробности налаживания и изготовления приставки описаны в [ 5 ].

Схема: Трехпрограммный приемник - приставка
Версия для печати: ![]()
2070
23 March 2007
